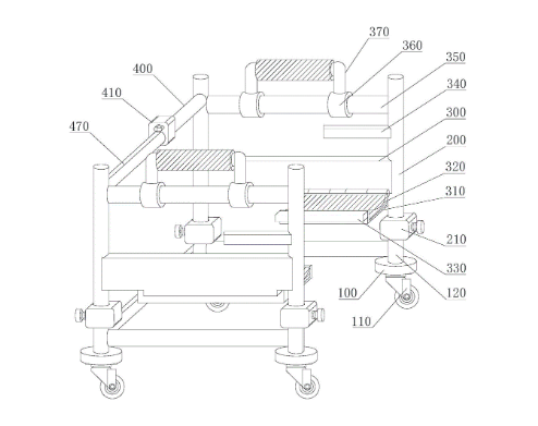
本实用新型公开了一种腿部骨折患者用助行装置,包括支撑圆盘,多个支撑圆盘底部设置有移动滚轮,多个支撑圆盘顶部设置有第一高度调节杆,多个第二高度调节杆底部设置有高度调节块,左侧第二高度调节杆外壁设置有调节管,调节管末端连接有宽度调节块,调节管内壁套接有宽度调节杆,可针对多种身高体型的患者进行调节便于进行助走,方便增加患者使用的舒适度;并且可将骨折的脚放置在支撑架上方的缓冲垫上进行防护,避免行走时脚部造成损伤,在进行康复训练时可将支撑架进行收纳,便于患者进行行走训练。
1.一种腿部骨折患者用助行装置,包括支撑圆盘(100),其特征在于:多个所述支撑圆盘(100)底部设置有移动滚轮(110),多个所述支撑圆盘(100)顶部设置有第一高度调节杆(120),所述第一高度调节杆(120)外壁开设有凹槽,所述第一高度调节杆(120)圆周外壁套接有第二高度调节杆(200); 第二高度调节杆(200),多个所述第二高度调节杆(200)底部设置有高度调节块(210),所述第二高度调节杆(200)侧壁设置有支撑板(300)、磁铁吸附块(340)和支撑杆(350); 支撑板(300),所述支撑板(300)侧壁利用销轴连接有支撑架(310),所述支撑杆(350)圆周外壁套接有固定套(360),所述支撑杆(350)左侧设置有结构相同的第二高度调节杆(200),左侧所述第二高度调节杆(200)外壁设置有调节管(400)。
2.根据权利要求1所述的一种腿部骨折患者用助行装置,其特征在于,所述调节管(400)末端连接有宽度调节块(410),所述宽度调节块(410)外壁螺纹连接有旋转螺纹杆(420),所述调节管(400)内壁套接有宽度调节杆(470)。
3.根据权利要求2所述的一种腿部骨折患者用助行装置,其特征在于,所述宽度调节杆(470)外壁开设有抵压槽,所述宽度调节杆(470)末端连接在所述第二高度调节杆(200)外壁。
4.根据权利要求3所述的一种腿部骨折患者用助行装置,其特征在于,所述高度调节块(210)外壁螺纹连接有抵压螺杆(220),所述高度调节块(210)内壁设置有第一弹簧(230),所述第一弹簧(230)末端连接有抵压板(240),所述抵压板(240)外壁设置有与凹槽相匹配的抵压半圆块(250)。
5.根据权利要求4所述的一种腿部骨折患者用助行装置,其特征在于,所述支撑架(310)顶部设置有缓冲垫(320),所述支撑架(310)外壁设置有磁铁块(330)。
6.根据权利要求5所述的一种腿部骨折患者用助行装置,其特征在于,所述固定套(360)顶部设置有把手架(370),所述把手架(370)圆周外壁套接有防滑套。
7.根据权利要求6所述的一种腿部骨折患者用助行装置,其特征在于,所述旋转螺纹杆(420)末端连接有凸块(430),所述宽度调节块(410)内壁设置有固定支撑块(440),所述固定支撑块(440)底部设置有第二弹簧(450),所述第二弹簧(450)末端连接有与抵压槽相匹配的抵压块(460)。

请联系平台
请联系平台



