本实用新型涉及一种农业种植用开沟装置,包括开沟机,开沟机包括车架,车架一端设有支撑板,两个支撑板之间设有支撑轴,支撑轴上设有破土盘,破土盘上设有破土齿,支撑板一侧设有驱动装置,车架上设有防尘盖板,车架另一端设有调节箱,调节箱上滑动设有滑板,滑板一侧固定设有滑杆,车架上设置有限位槽,滑杆底部铰接设有犁刀,车架一侧设有间距杆,通过驱动装置驱动支撑轴进行转动,通过支撑轴转动带动破土盘和破土齿进行转动,进而对地面进行破土,防止土地板结影响犁刀开沟效率,通过设置调节箱、滑板和滑杆,调节犁刀的竖直高度,进而调整开沟深度,提高了开沟机的实用性,通过设置间距杆,便于控制开沟间距。
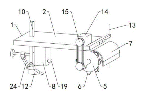
1.一种农业种植用开沟装置,包括开沟机(1),其特征在于:所述开沟机(1)包括车架(2),所述车架(2)一端设有支撑板(3),所述支撑板(3)设置有两个,且两个所述支撑板(3)之间设有支撑轴(4),所述支撑轴(4)上设有破土盘(5),所述破土盘(5)上设有破土齿(6),所述支撑板(3)一侧设有驱动装置,所述车架(2)上设有防尘盖板(7),所述车架(2)另一端设有调节箱(8),所述调节箱(8)上滑动设有滑板(9),所述滑板(9)一侧固定设有滑杆(10),所述车架(2)上设置有与滑杆(10)配合的限位槽(11),所述滑杆(10)底部铰接设有犁刀(12),所述调节箱(8)内设有高度调节装置,所述滑杆(10)上设有角度调节装置,所述车架(2)一侧设有间距杆(13)。
2.根据权利要求1所述的一种农业种植用开沟装置,其特征在于:所述驱动装置包括驱动电机(14),所述驱动电机(14)的电机轴上和支撑轴(4)的一端均设有皮带轮(15),所述皮带轮(15)上设有传动皮带(16)。
3.根据权利要求1所述的一种农业种植用开沟装置,其特征在于:所述高度调节装置包括调节螺杆(17),所述调节螺杆(17)转动设置在调节箱(8)内,所述调节螺杆(17)上螺纹连接设有调节环(18),所述滑杆(10)固定设置在调节环(18)上。
4.根据权利要求3所述的一种农业种植用开沟装置,其特征在于:所述调节箱(8)的一侧设有调节电机(19),所述调节电机(19)的电机轴上设有第一锥齿轮(20),所述调节螺杆(17)上设有第二锥齿轮(21)。
5.根据权利要求1所述的一种农业种植用开沟装置,其特征在于:所述角度调节装置包括转动螺杆(22),所述转动螺杆(22)上设有转动环(23),所述转动环(23)与犁刀(12)之间铰接设有转动杆(24),所述转动螺杆(22)的一端设有手轮(25)。
6.根据权利要求1所述的一种农业种植用开沟装置,其特征在于:所述破土齿(6)包括锰钢(26)、弹簧钢层(27)和不锈钢镀层(28),所述锰钢(26)与弹簧钢层(27)固定连接,所述不锈钢镀层(28)均匀分布在弹簧钢层(27)外侧。
7.根据权利要求1所述的一种农业种植用开沟装置,其特征在于:所述车架(2)一侧设有移动套筒(29),所述移动套筒(29)上设有移动杆(30),所述间距杆(13)固定设置在移动杆(30)上,所述移动套筒(29)与移动杆(30)之间设有移动螺栓(31)。

请联系平台
请联系平台



