政策资讯

取样器

专利类型:
实用新型
申请号/专利号:
CN202020924510.9
申请人(专利权人):
水利部牧区水利科学研究所
行业类别:
G01N1/14
技术成熟度:
成熟
公布时间:
2020-12-22
证书状态:
有效
交易价格:
面议
我要咨询

摘要详情

技术摘要

权利要求书

技术附图

交易流程

委托经理人

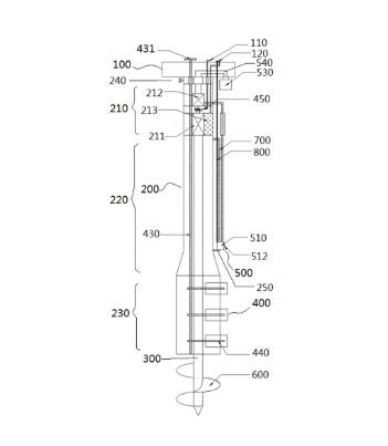
本申请提供一种取样器。所述取样器包括操作台、载物筒、转杆、取泥装置和取水装置。载物筒固定在操作台的底部;载物筒被依次划分成安装区、延伸区和取样区。安装区内安装有驱动装置和水泵。转杆设置包括第一端和第二端,第一端与驱动装置连接,第二端经延伸区和取样区延伸至载物筒的外部,第二端设有旋转叶。取泥装置配置有可旋转至取样区筒壁之外的容器盖和位于延伸区内的容纳腔;容器盖可随载物筒转动并在转动过程中挖取泥样,以及在容器盖盖合于容纳腔开口后将泥样放置于容纳腔内。取水装置包括吸水头、连通吸水头和水泵进水口的引水管、安装于操作台上的取水容器;取水容器与水泵出水口通过导流管连通。本申请可实现水和泥同时取样。

1.一种取样器,其特征在于,包括: 操作台; 载物筒,固定在所述操作台的底部;所述载物筒被依次划分成安装区、延伸区和取样区;所述安装区内安装有驱动装置和水泵; 转杆,设置在载物筒内,包括第一端和第二端,所述第一端与所述驱动装置连接,第二端经所述延伸区和取样区延伸至所述载物筒的外部,所述第二端设有旋转叶; 取泥装置,设置在所述取样区内,配置有可旋转至所述取样区筒壁之外的容器盖和位于所述延伸区内的容纳腔;所述容器盖可随所述载物筒转动并在转动过程中挖取泥样,以及在所述容器盖盖合于所述容纳腔开口后将所述泥样放置于所述容纳腔内; 取水装置,布置在所述延伸区的外部并靠近所述取样区;所述取水装置包括吸水头、连通所述吸水头和所述水泵进水口的引水管、安装于所述操作台上的取水容器;所述取水容器与所述水泵出水口通过导流管连通。

2.根据权利要求1所述的取样器,其特征在于,所述载物筒还包括: 伸缩区,设置在所述操作台底部与所述安装区之间,用于调节所述载物筒的长度。

3.根据权利要求1或2所述的取样器,其特征在于,所述取泥装置包括多个所述容纳腔,多个所述容纳腔沿所述载物筒轴心方向依次排列; 每个所述容纳腔的开口处配置一个容器盖。

4.根据权利要求3所述的取样器,其特征在于,所述引水管的长度可调;所述取样器还包括: 滑竿,固定在所述延伸区的外壁上,在与所述载物筒轴心平行的方向上,所述滑竿延伸预定长度且该长度小于或等于所述延伸区的长度;所述吸水头被设置为可沿所述滑竿滑动。

5.根据权利要求4所述的取样器,其特征在于,还包括: 卷尺,包括固定在所述操作台上的盒体和卷绕于所述盒体内的刻度尺,所述刻度尺的自由端固定连接在所述吸水头上。

6.根据权利要求5所述的取样器,其特征在于,还包括: 限位板,设置在所述载物筒的外壁上,用于限定出所述吸水头的最长延伸位置; 归位装置,包括设在所述引水管外围的管体,以及位于所述管体和所述引水管之间的弹性装置;所述管体固定在所述载物筒的外壁上,且所述管体内部限定出在所述载物筒轴心方向具有预定长度的环形腔,所述弹性装置设置在所述环形腔内,且所述弹性装置位于原始状态时,所述吸水头与所述限位板抵接,在所述吸水头向远离所述限位板的方向移动时,所述弹性装置处于压缩状态。

7.根据权利要求3所述的取样器,其特征在于,所述容器盖通过阀门杆和连接杆联动实现打开与闭合; 所述阀门杆贯穿所述操作台并可相对于所述操作台转动;所述阀门杆延伸至所述操作台之外的一端设有转动阀门;所述阀门杆的另一端向所述载物筒内部延伸并到达至所述取样区的底部; 所述连接杆的数量与所述容器盖的数量相同,每个所述连接杆的一端固定在所述阀门杆上,且所述连接杆能够随动于所述阀门杆转动,所述连接杆的另一端与所述容器盖连接,用于推动所述容器盖打卡或关闭。

8.根据权利要求1所述的取样器,其特征在于,所述旋转叶的外径大于或等于所述载物筒的外径。

9.根据权利要求4所述的取样器,其特征在于,所述吸水头包括: 壳体,设有内置空腔; 吸水口,开设在所述壳体上且与所述内置空腔连通; 第一贯穿孔和第二贯穿孔,开设在所述壳体上且在与所述载物筒轴心平行的方向上间隔预定距离,所述壳体通过所述第一贯穿孔和第二贯穿孔套设在所述滑竿上并能够沿所述滑竿滑动。

10.根据权利要求1所述的取样器,其特征在于,还包括: 转杆升降调节机构,安装于所述安装区内,与所述驱动装置连接,用于控制所述驱动装置和所述转杆沿所述载物筒的轴心方向升降预定长度。


请联系平台

请联系平台

我要咨询

商标号:
联系人:
联系电话:
商标名称:
报价:
需求描述:
提交
服务
客服
电话:18504815395
邮箱:965848622@qq.com
地址:呼和浩特市赛罕区昭乌达路70号内蒙古科技大厦906
微信
招聘
返回顶部