本实用新型涉及定位装置技术领域,尤其为一种直剪仪剪切盒定位装置,包括固定块,所述固定块的外壁上开设有安装槽,所述安装槽的内壁上安装有第一定位块,所述第一定位块的外壁上安装有第二定位块,所述第二定位块的外壁上安装有安装板,本实用新型通过设置控制开关控制显影灯运转,使得显影灯倾斜产生光照,由于显影灯位于第一定位块的一侧,当定位销安装不到位时,第二定位块和第一定位块之间产生错位,使得显影灯的光源在第二定位块的外壁上产生阴影,使得操作人员只需要一眼看过去就可以看出哪里错位,第二定位块没有定位好,便于操作人员进行调整进行定位,将其安装到位便于实验数据的精准。
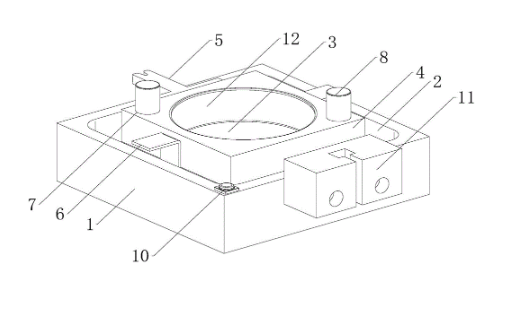
1.一种直剪仪剪切盒定位装置,包括固定块(1),其特征在于:所述固定块(1)的外壁上开设有安装槽(2),所述安装槽(2)的内壁上安装有第一定位块(3),所述第一定位块(3)的外壁上安装有第二定位块(4),所述第二定位块(4)的外壁上安装有安装板(5),所述安装板(5)的一侧且位于第二定位块(4)的侧壁上安装有限位板(6),所述第二定位块(4)的外壁上开设有安装孔(7),所述安装孔(7)的内壁上安装有定位销(8),所述定位销(8)的一端连接在第一定位块(3)的外壁上,所述安装槽(2)的内壁上设置有显影灯(9),所述固定块(1)的外壁上安装有控制开关(10),所述固定块(1)的外壁上安装有限位块(11)。
2.根据权利要求1所述的一种直剪仪剪切盒定位装置,其特征在于:所述第二定位块(4)的外壁上开设有连接槽(12),所述控制开关(10)通过导线连接有显影灯(9)且连接方式为电性连接。
3.根据权利要求1所述的一种直剪仪剪切盒定位装置,其特征在于:所述第一定位块(3)位于第二定位块(4)的正下方,所述安装板(5)位于固定块(1)的正上方,所述限位板(6)为L形状结构。
4.根据权利要求1所述的一种直剪仪剪切盒定位装置,其特征在于:所述限位板(6)设置有两组且分别位于第二定位块(4)相对立的外壁上,所述安装孔(7)开设有两组且分别位于第二定位块(4)的外壁上。
5.根据权利要求1所述的一种直剪仪剪切盒定位装置,其特征在于:所述定位销(8)和第一定位块(3)的连接方式为螺纹连接,所述显影灯(9)设置有多组且分别位于安装槽(2)的内壁上。
6.根据权利要求1所述的一种直剪仪剪切盒定位装置,其特征在于:所述显影灯(9)相对于安装槽(2)的内壁倾斜45度,所述显影灯(9)位于第一定位块(3)的一侧。

请联系平台
请联系平台



