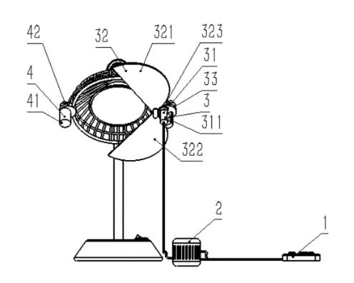
本实用新型公开了一种皮肤温度感应报警装置,其包括控制器、测温组件、遮光组件与测距组件;所述控制器包括显示器、报警器、操作区域与处理器,显示器、蜂鸣器与操作区域设置在控制器表面,处理器位于所述控制器内部;所述控制器通过导线与所述测温组件、遮光组件、测距组件连接;所述遮光组件安置在红外线烤灯的灯罩的外侧边沿;所述测距组件安装在红外线烤灯的灯罩另一侧的外侧边沿;设置电源结构,电源结构通过导线分别与控制器、显示器、报警器、处理器、测温组件连接。
1.一种温度感应报警装置,其特征在于,其包括控制器、测温组件、遮光组件与测距组件;所述控制器包括显示器、报警器、操作区域与处理器,显示器、蜂鸣器与操作区域设置在控制器表面,处理器位于所述控制器内部;所述控制器通过导线与所述测温组件、遮光组件、测距组件连接;所述遮光组件安置在红外线烤灯的灯罩的外侧边沿;所述测距组件安装在红外线烤灯的灯罩另一侧的外侧边沿;设置电源结构,电源结构通过导线分别与控制器、显示器、报警器、处理器、测温组件连接。
2.根据权利要求1所述的温度感应报警装置,其特征在于,所述报警器为蜂鸣器。
3.根据权利要求1所述的温度感应报警装置,其特征在于,所述操作区域包括操作键。
4.根据权利要求1所述的温度感应报警装置,其特征在于,所述测温组件包括温度传感器。
5.根据权利要求1所述的温度感应报警装置,其特征在于,所述遮光组件包括遮光安置结构、动力结构与遮光器。
6.根据权利要求5所述的温度感应报警装置,其特征在于,所述遮光器包括遮光板一、遮光板二与传动齿轮。
7.根据权利要求5所述的温度感应报警装置,其特征在于,所述动力结构包括电机。
8.根据权利要求5所述的温度感应报警装置,其特征在于,所述遮光安置结构包括电机座、遮光夹持结构、遮光板一安置架与遮光板二安置架。
9.根据权利要求1所述的温度感应报警装置,其特征在于,所述测距组件包括霍尔传感器与传感器安置结构。
10.根据权利要求9所述的温度感应报警装置,其特征在于,所述传感器安置结构包括传感器座与传感器夹持结构。

请联系平台
请联系平台



