本实用新型公开了一种草地野外调查用土壤分层取样装置,包括取样机构,以及安装于取样机构顶部的取样电机;所述取样机构的外侧设置有升降机构,且升降机构的顶部设置有驱动电机;所述限位板顶部的中心位置与取样电机固定连接,所述取样电机的输出端贯穿限位板并固定连接有储存室;储存室的底部固定连接有钻头,所述储存室的内部开设有若干个凹槽,所述凹槽的个数为三组,且凹槽均匀分布在储存室的中上部分,通过设置取样机构能够便于土壤的分层提取,通过取样电机带动储存室与转头一起转动,利用第一弹簧的复原力,从而推动挡板沿铰链块转动,通过挡板带动连接杆向里移动,从而滑块沿夹紧框架的内壁移动。
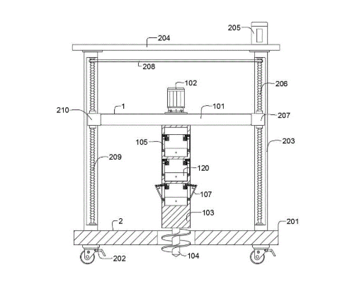
1.一种草地野外调查用土壤分层取样装置,包括取样机构(1),以及安装于取样机构(1)顶部的取样电机(102); 所述取样机构(1)的外侧设置有升降机构(2),且升降机构(2)的顶部设置有驱动电机(205); 其特征在于,还包括: 所述取样机构(1)包括限位板(101),所述限位板(101)顶部的中心位置与取样电机(102)固定连接,所述取样电机(102)的输出端贯穿限位板(101)并固定连接有储存室(103); 其中,储存室(103)的底部固定连接有钻头(104),所述储存室(103)的内部开设有若干个凹槽(105),所述凹槽(105)的个数为三组,且凹槽(105)均匀分布在储存室(103)的中上部分。
2.根据权利要求1所述的一种草地野外调查用土壤分层取样装置,其特征在于,所述凹槽(105)的底部固定连接有铰链块(106),所述铰链块(106)的一端固定连接有挡板(107),所述挡板(107)的顶部一侧固定连接有第一弹簧(108)。
3.根据权利要求2所述的一种草地野外调查用土壤分层取样装置,其特征在于,所述第一弹簧(108)远离挡板(107)的一侧固定连接有固定块(109),所述固定块(109)的一侧与储存室(103)固定连接,所述储存室(103)靠近固定块(109)的下方设置有夹紧框架(110),所述储存室(103)的底部滑动连接有收集箱(120)。
4.根据权利要求3所述的一种草地野外调查用土壤分层取样装置,其特征在于,所述夹紧框架(110)的一端对称固定连接有挡块(111),所述夹紧框架(110)的内壁滑动连接有滑块(112),所述滑块(112)的一端固定连接有第二弹簧(113),所述第二弹簧(113)远离滑块(112)的一端与夹紧框架(110)固定连接。
5.根据权利要求4所述的一种草地野外调查用土壤分层取样装置,其特征在于,所述滑块(112)远离第二弹簧(113)的一端对称固定连接有限位柱(114),两个所述限位柱(114)的外侧转动连接有夹杆(115),两个所述夹杆(115)之间固定连接有弹簧杆(116),所述夹杆(115)靠近限位柱(114)的一端贴合连接有连接杆(117),所述连接杆(117)的一端与挡板(107)固定连接,所述夹紧框架(110)靠近第二弹簧(113)的一端中心位置对称开设有楔形槽(118),两个所述楔形槽(118)的内部与夹杆(115)滑动连接,所述夹紧框架(110)的两侧对称开设有滑槽(119),两个所述滑槽(119)的内部与夹杆(115)滑动连接。
6.根据权利要求1所述的一种草地野外调查用土壤分层取样装置,其特征在于,所述升降机构(2)包括底板(201),所述底板(201)的顶部两端对称固定连接有万向轮(202),所述底板(201)的顶部两端对称固定连接有升降框架(203),两个所述升降框架(203)的顶部固定连接有顶板(204),所述顶板(204)的顶部一侧与驱动电机(205)固定连接。
7.根据权利要求6所述的一种草地野外调查用土壤分层取样装置,其特征在于,所述驱动电机(205)的输出端贯穿顶板(204)并固定连接有第一螺纹杆(206),所述第一螺纹杆(206)与升降框架(203)转动连接,所述第一螺纹杆(206)的外侧螺纹连接有第一螺纹套(207),所述第一螺纹套(207)一侧与限位板(101)固定连接,所述第一螺纹杆(206)的顶部贴合连接有皮带(208),所述皮带(208)远离第一螺纹杆(206)的一端贴合连接有第二螺纹杆(209),所述第二螺纹杆(209)与升降框架(203)转动连接,所述第二螺纹杆(209)的外侧螺纹连接有第二螺纹套(210),所述第二螺纹套(210)的一侧与限位板(101)固定连接。

请联系平台
请联系平台



