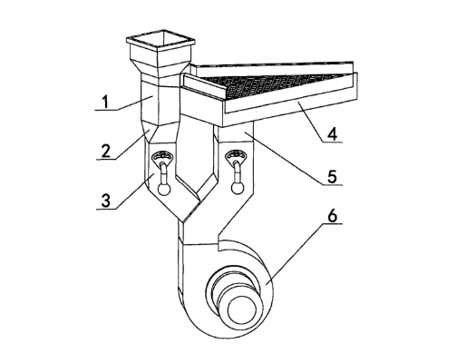
种子重力分选机属于种子清选加工装备领域,包括台面喂料系统、喂料供风软连接、供风三通、台面、台面供风软连接、风机。台面喂料系统与台面固定,位置在台面直角梯形直角处。台面喂料系统通过喂料供风软连接与供风三通连接。台面通过台面供风软连接与供风三通连接。有台面喂料系统风门和台面风门的供风三通与风机连接。台面喂料系统包括喂料斗、导流板、层流格、工作网、风筒,导流板倾斜安装在喂料斗内,层流格安装在风筒内,工作网附着在层流格上,工作网沿进料方向向下倾斜。有益的效果是台面喂料系统承担了种子分选初期的分层工作,等于增加了台面作业面积,重力分选工作性能也就提高了,也实现了台面喂料系统供风和台面供风的独立调节。
1.种子重力分选机,包括台面喂料系统、喂料供风软连接、供风三通、台面、台面供风软连接、风机,其特征在于台面喂料系统通过风筒与台面固定,位置在台面边框形成的直角梯形上底直角处,台面喂料系统的风筒通过喂料供风软连接与供风三通安装有台面喂料系统风门的口连接,台面通过台面供风软连接与供风三通安装有台面风门的口连接,供风三通无风门的口与风机连接,台面喂料系统包括喂料斗、导流板、层流格、工作网、风筒,喂料斗与风筒相连,导流板倾斜安装在喂料斗内,层流格安装在风筒内,工作网附着固定在层流格上,工作网沿进料方向向下倾斜,与水平面形成一定的夹角,供风三通包括壳体、台面喂料系统风门、台面风门、蝶形螺母、螺柱、台面风门转轴、台面喂料系统风门转轴、扇形锁板,台面风门转轴和台面喂料系统风门转轴安装在壳体上,台面风门和扇形锁板与台面风门转轴焊接,台面喂料系统风门和扇形锁板与台面喂料系统风门转轴焊接,螺柱与壳体焊接,蝶形螺母安装在螺柱上压向扇形锁板。

请联系平台
请联系平台



