本实用新型涉及畜禽排泄物降解技术领域,且公开了一种畜禽养殖排泄物生物降解垫,包括蓄水池,所述蓄水池的内部设置有过滤板,过滤板的外表面与蓄水池的内壁固定连接,过滤板的上表面开设有等距离排列的透气孔,过滤板的上表面开设有限位槽,过滤板的上方设置有清粪板,清粪板的底面固定连接有限位块,限位块滑动连接在限位槽的内部,该畜禽养殖排泄物生物降解垫,利用混合后的发酵物对养殖过程中畜禽的排泄物进行有效的降解处理,可以让畜禽在过滤板上面走动加快排泄物的分散和降解,不需要人工打扫处理,有效的降低了养殖人员的劳动力,同时也减少了养殖棚粪臭的气味,起到畜禽养殖时产生的排泄物自动降解自动处理的效果。
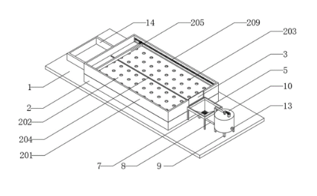
1.一种畜禽养殖排泄物生物降解垫,包括底座(1),其特征在于:所述底座(1)的上方设置有降解机构(2); 所述降解机构(2)包括蓄水池(201),所述蓄水池(201)的内部设置有过滤板(202),所述过滤板(202)的外表面与蓄水池(201)的内壁固定连接,所述过滤板(202)的上表面开设有等距离排列的透气孔(203),所述过滤板(202)的上表面开设有限位槽(204),所述过滤板(202)的上方设置有清粪板(205),所述清粪板(205)的底面固定连接有限位块(206),所述限位块(206)滑动连接在限位槽(204)的内部,所述清粪板(205)的上表面固定连接有旋转电机(207),所述旋转电机(207)动力的输出端固定连接有小齿轮(208),所述蓄水池(201)的内侧壁开设有齿轮槽(209),所述小齿轮(208)的外表面与齿轮槽(209)的内底壁啮合连接,所述蓄水池(201)的内侧壁分别开设有第一卡位槽(210)和第二卡位槽(211),所述清粪板(205)的左右两侧面分别滑动连接在第一卡位槽(210)和第二卡位槽(211)的内部。
2.根据权利要求1所述的一种畜禽养殖排泄物生物降解垫,其特征在于:所述蓄水池(201)的正面转动连接有护栏门(3),所述蓄水池(201)的背面开设有排污口(4)。
3.根据权利要求1所述的一种畜禽养殖排泄物生物降解垫,其特征在于:所述蓄水池(201)的正面设置有打碎框(5),所述打碎框(5)的内部转动连接有两个粉碎轮(7),所述打碎框(5)的背面固定连接有两个高压电机(6),每个所述高压电机(6)的动力输出端均依次贯穿打碎框(5)并与粉碎轮(7)的背面固定连接。
4.根据权利要求3所述的一种畜禽养殖排泄物生物降解垫,其特征在于:所述打碎框(5)的正面设置有温控炉(10),所述底座(1)的上表面固定连接有支撑架(9),所述支撑架(9)的上表面与温控炉(10)的底面固定连接。
5.根据权利要求4所述的一种畜禽养殖排泄物生物降解垫,其特征在于:所述打碎框(5)的底面固定连通有送料管(8),所述送料管(8)远离打碎框(5)的一端与温控炉(10)的上表面固定连通,所述温控炉(10)的上表面固定连接有固定座(11),所述固定座(11)的上表面固定连接有自吸泵(12),所述自吸泵(12)的动力输出端与送料管(8)固定连通,所述温控炉(10)的外表面固定连通有出料口(13)。
6.根据权利要求1所述的一种畜禽养殖排泄物生物降解垫,其特征在于:所述底座(1)的上表面固定连接有发酵池(14),所述发酵池(14)的上表面固定连接有抽水泵(15)。
7.根据权利要求6所述的一种畜禽养殖排泄物生物降解垫,其特征在于:所述抽水泵(15)的输入端固定连通有抽水管(16),所述抽水管(16)远离抽水泵(15)的一端贯穿蓄水池(201)并固定连通有过滤网(17)。

请联系平台
请联系平台



